Средневековая архитектура Польши: культовые здания
Глава «Романская и готическая архитектура в странах Восточной и Северной Европы. Архитектура Польши (Культовые здания)», «Всеобщая история архитектуры. Том 4. Архитектура Западной Европы. Средние века». Авторы: Земцов С.М., Михайловский Е.В.; под редакцией Губера А.А. (ответственный редактор), Колли Н.Д., Максимова П.Н., Маца И.Л., Нельговского Ю.А., Саркисиана Г.А. Москва, Стройиздат, 1966
Древнейшим известным культовым зданием Польши является костёл Девы Марии — капелла замка Вавель в Кракове (конец X в.). Это — небольшое круглое здание с четырьмя конхами и сакристией (рис. 13). Храмы сходного типа известны во многих странах: на острове св. Гонория (V в.), в Регенсбурге (VIII в.), в Бонне (VII в.), в Чехии и других местах. Конхи были здесь перекрыты половиной сферического свода. Центральное помещение (внутренний диаметр — 4,8 м) было, вероятно, также перекрыто сферическим куполом. Высота конх составляла около 6 м, общая высота здания была, вероятно, около 10 м.
![]() |
![]() |
| 13. Краков. Костёл Девы Марии на Вавеле, X в. | 14. Цешин. Костёл, XI в. |
В зодчестве Польши раннего периода использовался преимущественно центрический план. Круглым центрическим зданием был костёл св. Михаила «на Скалке» в Кракове, основанный раньше костёла Девы Марии. Центрический план был и у замковой капеллы на острове Ледница (XI в.): он имел форму квадрата с закругленными углами; с востока примыкала алтарная апсида. Капелла на Леднице имела четыре внутренних столба.
Костёл XI в. в Цешине (Силезия) — совершенно круглое здание, с полуциркульной апсидой (рис. 14). Его внутренний диаметр несколько больше, чем в краковском костёле, — 6,2 м. Перекрыт он сферическим куполом. Алтарь приподнят на несколько ступеней, а в западной части имелась эмпора, на которую вела внутристенная лестница.
Костёл св. Прокопия в Стшельно (первая половина XII в.), также круглый в плане (внутренний диаметр 8,2 м), имеет с востока прямоугольный алтарь. С запада он увенчан высокой круглой башней, которая входила в систему укреплений замка.
Известны и другие костелы центрического строения, например костел в Лышце, заложенный в первой половине XII в., и костёл францисканцев в Кракове (первая половина XIII в.) с планом в виде равноконечного креста.
![]() |
![]() |
| 15. Краков. Костёл св. Гереона на Вавеле. Капитель, 2-я половина XI в. | 16. Краков. Костёл св. Андрея, XI в. |
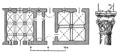
Черты романской архитектуры проявились уже в кафедральном костёле св. Гереона на Вавеле, заложенном в середине XI в. Это была типичная трёхнефная базилика, с тремя апсидами на востоке, где имелся и слабо развитый трансепт, и с двумя каменными башнями на западе. Этот собор послужил прообразом большинства костелов романской эпохи в Польше. Здесь впервые в обработку польских каменных зданий было введено пластическое начало (рис. 15).
Костёл св. Андрея в Кракове (XI в.) интересен как сооружение переходного типа. Его основная часть, почти квадратная в плане, с четырьмя внутренними столбами, напоминает центрические постройки Востока, но в западной части расположены башни, а в боковых нефах — галереи, центральный же неф переходит в удлиненное алтарное пространство, заканчивающееся полуциркульной апсидой. Фасад, обращённый к улице, носит почти крепостной характер (рис. 16): мощные башни, в нижней части лишённые проёмов, фланкируют глухую стену, так как вход в костел расположен на боковой стороне. Костел осуществлял и оборонные функции. В 1241 г. он противостоял многочисленным атакам татар и не был взят. Интересен контраст между гладкими стенами и тонко прорисованной лоджией в верхней части центральной стены (реставрирована), а также с парными полуциркульными проемами в верхней части башен.
Костёлы такого типа строились и позднее. Таковы, например, костёл в Могильно (XII в.) и костёл в Костельце (начало XIII в.). Западный фасад последнего украшен перспективным полуциркульным порталом с красивым, тонким белокаменным рельефом, а колонны яруса трифориев увенчаны замечательными резными из камня лиственными капителями разного рисунка на каждой паре колонн.
![]() |
![]() |
| 17. Вежбна. Костёл, 1230 г. | |
![]() |
![]() |
| 18. Тум (Ланчица). Костёл, 1127—1161 гг. | |
![]() |
|
| 19. Сенкова. Костёл, начало XVI в. | |
Костёлы в замках и провинциальных осадных дворах имели один неф и слабо развитую алтарную апсиду. С западной стороны примыкала каменная башня, включавшаяся в систему укреплений замка. Вход в костёл находился на боковой стороне. Такие костёлы XII в. сохранились в Высоцицах, в Звержинце, в окрестностях Кракова, в Прандоцине (Малая Польша), в Жарнуве (Великая Польша). Костёл уже с двумя башнями сохранился в Вежбне (Силезия, 1230 г.; рис. 17). Такие костелы явились прототипами каменных и деревянных сельских приходских костёлов последующего времени. Место оборонительной башни заняла потом колокольня. К числу позднейших костёлов такого типа относятся деревянный костёл XVI в. в Сенковой Горлицкого уезда (рис. 19) и костел середины XV в. в Дембно.
Костёл св. Гереона на Вавеле был заменён новым, законченным в 1142 г., от которого в существующем здании XIV в. сохранилась крипта св. Леонарда.
Здания костёлов с апсидами на обоих концах среднего нефа были наиболее импозантными, и потому именно этот тип выбирался для наиболее значительных культовых построек. Таким был, например, костёл в Туме (Ланчица), где тогда происходили съезды князей и магнатов, а также церковные съезды (с 1180 по 1547 г.).
Костёл в Туме (1127—1161 гг.) представляет собой трёхнефную базилику, состоящую из шести травей. Восточный пролёт фланкирован двумя невысокими круглыми башнями, позднее надстроенными. Он завершается тремя апсидами, из которых средняя, вмещающая алтарь, значительно выдвинута по сравнению с боковыми. На западе две высокие квадратные башни врезаются в основной объём здания. Между башнями выступает массивная и высокая западная апсида (рис. 18). Вход в костёл, украшенный одним из лучших романских порталов, расположен на северной стороне. Рельеф в тимпане обрамляется архивольтами, украшенными орнаментом. Интересны и капители колонн портала. Боковые нефы костёла перекрыты крестовыми сводами (частично заменены стрельчатыми в XV в.), на которых размещены галереи. Большая полукруглая эмпора есть также и в западной апсиде. В ней сохранились каменные скамьи вдоль стен — почетные места участников съездов. Эта особенность отличает храм в Туме от композиций рейнской и саксонской школ, где обе апсиды служили лишь алтарями. Средний неф костёла в Туме перекрыт деревянным потолком с росписью (ширина нефа 8,55 м, высота 19 м).
![]() |
![]() |
| 21. Гнезно. Собор. Фрагмент двери, XII в. | |
![]() |
|
| 20. Стшельно. Костёл св. Троицы. Резьба 2-й половины XII в. | 22. Вонхоцк. Зал капитула, начало XIII в. |
Декоративная отделка польских культовых зданий достигла в средние века замечательного развития. Сосредоточенная в немногих местах, она поражает непосредственностью и своеобразием рисунка и трактовки, как в костёле св. Троицы в Стшельно (рис. 20), и удивительной чистотой и ясностью замысла, как в знаменитом портале монастыря на Олбине (теперь в костёле Марии Магдалины во Вроцлаве) или в бронзовых дверях Плоцкого и Гнезненского соборов (рис. 21).
Постройки того времени характерны типичной романской кладкой из гладко отёсанных камней, в начальный период мелких, а затем, в XII в., достигавших 30—40 см в высоту, уложенных на известковом растворе.
Постройками переходного периода являются костёлы цистерцианцев в Вонхоцке, Копживнице, Енджеюве и Сулейове (конец XII в. — 30-е годы XIII в.). Костел и зал капитула в Вонхоцке — лучшие сооружения этой группы. Простота общей конфигурации костёла и обычное для построек цистерцианцев отсутствие декора сочетаются здесь с замечательным декоративным эффектом цветных стен, сложенных из слоев разной высоты серого и кирпично-красного песчаника. Окна с полуциркульным завершением богато профилированы на откосах. Камни их арок имеют то же чередование цветов.
В конструкции костёла интересно применение контрфорсов в стене главного нефа, опёртых на поперечные арки боковых нефов. Стены боковых нефов также подперты контрфорсами. Этот приём послужил основой для конструкций готической архитектуры Польши. Зал капитула — почти квадратный в плане (7,85 × 7,50 м; рис. 22). Его девять крестовых сводов опираются на полуциркульные арки, поддерживаемые четырьмя колоннами. Ребра сводов профилированы. Колонны (высотой 1.56 м) имеют резные капители чередующихся рисунков и базы, украшенные розеттами. Кронштейны на стенах — также резные. Вдоль стен зала идёт каменная скамья.
Костёл в Сулейове (1232 г.) — обычная трёхнефная базилика с трансептом. Его прямоугольные в плане апсиды вносят еще больше простоты в общий характер здания. Переходный характер архитектуры подчёркивается одновременным употреблением полуциркульных и стрельчатых арок.
![]() |
| 23. Тшебница. Костёл, 1203—1219 гг. Тимпан северного портала западного фасада |
Один из интереснейших цистерцианских костёлов, трёхнефный, восьмитравейный, с трансептом, с полукруглыми апсидами, в котором также наблюдается смешение полукруглых и стрельчатых арок, — костёл в Тшебнице (1203—1219 гг.) — содержит блестящие образцы средневековой польской скульптуры. В тимпане портала, где кладка из кирпича сочетается с деталями из белого камня (рис. 23), и в других местах размещены рельефные изображения, которые могут быть поставлены в ряд с лучшими произведениями европейской средневековой скульптуры.
Наиболее ранний «зальный» костёл (XIII в.) сохранился в Зембицах. Позднее, в XIV в., был построен двухнефный зальный костёл в Вишлице. Однако в XIII в. появились трёхнефные костёлы с равной высотой нефов в Колобжеге, Станентках и др. Этот прием организации внутреннего пространства получил свое развитие в начале XV в.
В XIII в. получила широкое применение кирпичная кладка, до тех пор не имевшая в Польше распространения. Один из известных образцов кирпичного зодчества — костёл св. Якова в Сандомеже (1226—1250 гг.).
Характерным было и сочетание кирпичных стен с белокаменными, иногда резными деталями. Одним из первых таких примеров, наряду с упомянутым костелом в Тшебнице, явился костёл в Могиле (1223—1243 гг.). Сочетание белого камня и кирпича надолго осталось одним из излюбленных приёмов польской архитектуры, как и сочетание кирпича с поливной терракотой.
![]() |
| 24. Краков. Собор, 1320—1364 гг. |
Своего полного развития готика в Польше достигла только в XIV в. Замечателен кафедральный костёл на Вавеле в Кракове (1320—1364 гг.; рис. 24). Перелом продольной оси его плана объясняется тем, что алтарь был построен (в 1346 г.) отдельно от западной части здания. Алтарь окружен обходом — приём, ранее в Польше почти неизвестный, — и венцом капелл. В центре восточной стены — большая Т-образной формы капелла Девы Марии, с двумя квадратными капеллами по сторонам. Полукружие апсиды обрамляется снаружи плоской стеной.
Ширина нефа в 5 туазов (т. е. 30 футов) была принята за модуль для построения всего костёла. Длина алтаря с обходом равна трём модулям. Полная его длина, с капеллой Девы Марии, равна четырем модулям. В целых числах туазов были определены длина алтаря, ширина восточного обхода и т. д. Высота среднего нефа была равна двум модулям. В целых числах туазов были построены арки, боковые нефы костёла и пр.
Интерьер костёла благодаря сочетанию кирпича и белого камня отличался нарядностью, которую усиливали декоративные вставки — барельефы в замках сводов, статуи святых и т. п. Западный фасад был украшен пышным каменным порталом с сюжетными барельефами. Деревянные двери, обитые железом в косую сетку, — один из лучших образцов художественной оковки XIV в. В центре щипца, окантованного «краббами», помещены барельеф и статуя св. Станислава; под ним — небольшая роза.
Готическая архитектура отличалась в Польше значительным своеобразием. Конструкции польских сооружений принципиально отличались от западноевропейских. Так, костёл на Вавеле, несмотря на значительный пролёт (около 10 м) и высоту среднего нефа, не имел аркбутанов. Аркбутаны вообще почти не использовались в польской архитектуре.
Для восприятия распора сводов в Польше применялась оригинальная «контрфорсно-колонная» система. Основы этой конструкции наметились ещё в постройках XIII в. (подобных костёлу в Вонхоцке). В костеле на Вавеле контрфорсы главного нефа образовали в боковых нефах прямоугольные выступы, на которые опирается аркада, разделяющая нефы. Конструктивная схема при этом упростилась, так как распор не передавался на наружные стены боковых нефов.
![]() |
![]() |
| 25. Гнезно. Собор, XIV в. | 26. Краков. Костёл св. Екатерины, XIV в. |
Конструктивные особенности польских готических построек сказались на их облике. Наметившаяся в романскую эпоху тенденция как бы лепить здание из крупных объёмов получила в сооружениях польской готики свое дальнейшее развитие, выразившееся в значительно большей по сравнению с предыдущим периодом утонченности форм, приобретших скульптурный характер (ср. фасад кафедрального костёла в Гнезно, рис. 25, алтарную часть костёла св. Екатерины в Кракове, рис. 26, и др.).
Этому способствовали и уменьшение ширины окон по сравнению с западноевропейскими постройками и соответственное увеличение плоскости стен.
![]() |
|
| 27. Вроцлав. Собор. Фрагменты капители, XIV— XV вв. | |
![]() |
![]() |
| 28. Копшивница. Монастырь цистерцианцев. Кронштейн свода, около 1342 г. | 29. Краков. Марьяцкий костёл, 1226—1478 гг. |
Это стремление к скульптурности объёмов здания сопровождалось и использованием скульптурных деталей. Что касается архитектурных деталей, то и они нередко принимали здесь характер своеобразных скульптурных произведений (как, например, капители из кафедрального костёла во Вроцлаве; рис. 27), часто достигая значительной экспрессии (рис. 28).
Одним из выдающихся образцов городских костёлов является Марьяцкий костёл в Кракове (1226—1478 гг.). Он считается лучшим в «краковской» школе польской готики. Эффектны его кирпичные фасады с белокаменными деталями (пинакли, обрамления окон и др.). Алтарь лишен обхода, и пластика алтарной части получила здесь своё законченное развитие. Главный фасад с двумя высокими башнями суров, прост и величествен (рис. 29). Одна из башен имеет деревянный шатёр, увенчанный короной и флюгером — замечательный образец искусства плотников XV в. Интерьер костёла был украшен витражами, остатки которых собраны в алтарной части. Резной из дерева триптих алтаря выполнен знаменитым польским скульптором Витом Ствошем (1480-е годы). Им же выполнено распятие в алтарной арке.
Среди строителей костела известны: Генрих Парлер (1392—1394 гг.), мастер Верхнер из Праги (1395—1396 гг.), мастер Петр (1399 г.) и мастер Чипсер (1442—1444 гг.).
Северная школа польской готики уделяла преимущественное внимание декоративным завершениям обычно гладких стен. Пышно обрабатывались щипцы и аттики. Основным материалом здесь был кирпич; камень почти совсем не использовался. Иногда стены костёлов целиком или частично (плоские ниши) покрывались штукатуркой.
Одним из значительных зданий северной школы является костёл Девы Марии в Гданьске (1425—1502 гг.). Базиликальная часть костёла имеет три нефа и шесть травей, за которыми следует широкий трансепт. Алтарь заканчивается прямоугольной в плане апсидой. Контрфорсы здесь введены в здание и образуют разделительные стены капелл, идущих вдоль боковых фасадов. Стены — гладкие на всю их высоту. Декоративный эффект сосредоточен на рельефных ажурных щипцах и балюстраде. Всё завершается высокими и стройными восьмигранными башенками, увенчанными шатрами-шпилями. Некоторая грузность башни у входа (76 м высоты) смягчается искусным переходом от глухих окон нижнего яруса к большим и тонко прорисованным верхним. Костёл очень велик — 105 м в длину и 66 м в ширину. Начатый по базиликальной схеме, он был закончен как постройка зального типа, что сделало необычайно эффектным его просторный и светлый интерьер.
Из строивших костел мастеров известны: Клаус Сведер (1425—1429 гг.), мастер Стеффене (1443—1446 гг.), мастер Михаль (1484—1485 гг.), мастер Генрих Хецель (1494 г.) и мастер Ганс Брандт (1486—1502 гг.).
![]() |
![]() |
| 30. Кенштшин. «Сотовые» своды в костёле св. Юрия, XIV в. | 31. Краков. Своды в доме № 1/8 на рынке, XIV в. |
Готическая архитектура в Польше, как. впрочем, и в других странах, дала бесчисленные варианты сводов, искусство возведения которых достигло тогда своего предела. Крестовые своды предшествовавшего времени уже в XIII в. начали делиться дополнительными нервюрами и образовывать шестидольные своды, что укрепляло конструкцию в больших пролётах. Появились своды с ещё более мелким делением полей, в том числе и характерные для польской архитектуры «пястовские», девятидольные своды. Такие своды были применены уже в кафедральном костёле на Вавеле. Сложная система деления сводов применялась в тот период и в перекрытиях гражданских зданий. Интересными примерами могут служить дом № 1/8 на рынке в Кракове (рис. 31) и дом № 17 там же (так называемый «Гетманский дом»). В дальнейшем конструкции сводов ещё более усложнились, и после сводов звёздчатых, сетчатых, с множественным переплетением нервюр, и сводов веерных в Польше в XV—XVI вв. появились эффектные сотовые своды, использованные в самых разнообразных их вариантах (рис. 30). Большого развития достигли в ту эпоху и деревянные конструкции, в частности стропильные фермы, поддерживавшие высокие крыши готических зданий.
Польские архитекторы средневековья в отличие от более позднего периода проявляли большую сдержанность в обработке наружных стен и искали совершенства композиционных построений в гармонической уравновешенности самых масс зданий. Они добивались пластической выразительности объемов путем их взаимосвязи и противопоставления. Достигнув значительного совершенства в применении декоративных и скульптурных элементов, польские архитекторы средневековья очень сдержанно использовали их в наружном облике зданий и вместе с тем широко применяли их во внутренней отделке, порой довольно пышной. Характерной тенденцией польских зодчих средневековья было стремление к объёмной и силуэтной выразительности их построек. При этом свойственный готической архитектуре вертикализм носил в польской архитектуре очень сдержанный характер.























Добавить комментарий